よくある課題
Salesforceを導入したけどうまく使えていない
Tableauを活用できる人材を増やしたい
AIを使ってSalesforce活用に関する悩みを解決したい
コラム詳細

はじめに
Salesforce(セールスフォース)を活用する上で欠かせないのが「レポート機能」です。膨大なデータを整理・分析し、営業活動や顧客対応に役立てられます。ただ、多機能なため初めて利用する方は「現場に浸透しない」「使い方がよくわからない」といった悩みを抱えているのではないでしょうか。本記事では、Salesforceレポートの入門ガイドとして、基本的な仕組みから作成手順、使いこなすコツやよくあるトラブルへの解決策までわかりやすく解説します。
Salesforceのレポートは、蓄積されたデータを特定の条件で絞り込み、グラフやリスト化する機能です。個別の数値を見るだけでは判別しづらい情報を整理し、合計や平均値、最大値などを計算できます。たとえば「売上上位の商品は?」「最も成功しているマーケティングキャンペーンは?」といった疑問に対する答えは、レポートを活用することで簡単に得られます。
レポートとダッシュボードはいずれもSalesforceに入力したデータをわかりやすく可視化する機能ですが、用途やデータの表示速度などに違いがあります。レポートはデータを深掘りする際に役立つ機能です。一つのオブジェクトを対象に、データの詳細な分析やリスト化、エクスポートを行えます。計算や整理を得意としているため、「商談の担当者」ごとの合計金額の比較のように、情報を詳しく分析する用途に向いています。ダッシュボードは、データの推移を1画面でまとめて確認する際に役立つ機能です。複数のレポートを元にした情報を、グラフィカルに表示できます。多面的なデータ分析や俯瞰的な情報の把握、頻繁に推移を確認したい時に向いています。
| 主な使用目的 | データの表示速度 | |
| 表形式 |
|
|
| ダッシュボード |
|
|
Salesforceレポートの主な用途
Salesforceレポートは、日常業務のさまざまなシーンで活用できます。たとえば、社内会議や経営層への報告の際には、最新の売上や顧客状況をまとめた資料を作成可能です。また、受注率や商談数などのデータを分析することで、営業戦略の改善やボトルネックの特定に役立てられます。さらに、営業担当者ごとの進捗状況や、部署間の実績を可視化すれば、社内全体の業務改善につなげることも可能です。Salesforceレポートはただデータを保存するだけでなく、資料作成や進捗確認、業務効率化などのさまざまな用途で活用できます。
Salesforceレポートは、事前に要件を整理しておけば、簡単な操作で作成できます。ここでは、一例として「営業マネージャーが、新しい案件をどの営業担当者に割り振ったらよいか」と悩んでいるケースを想定し、判断に役立つレポートの作成手順を解説します。
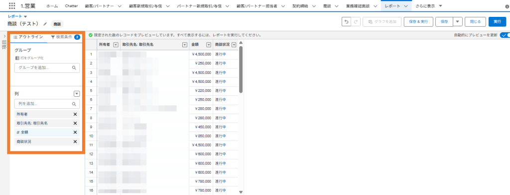
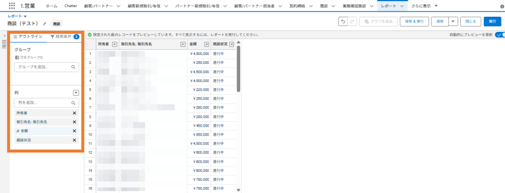
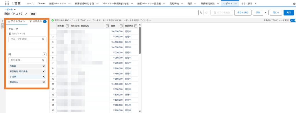
最初に、目的達成のために必要な要件を定義します。「どの営業担当者に新規案件を割り振るのが適切か?」という問いは抽象的なため、Salesforceに蓄積したデータから判断できるように、比較できる具体的な形に要件を定義しましょう。今回の例では、「営業担当者ごとの忙しさ」が有力な判断材料になります。特に忙しい人、手が空いている人を見極めるために、[商談]を[進行中]のものに絞り込み、[営業担当者]ごとにグループ化してレポートを作成しましょう。その際、[完了予定日]や[金額]、[取引先]などの項目も一緒に追加しておけば、誰がどの案件を担当しているのかが一目で確認しやすいレポートになります。

<レポート概要>

<レポートタイプの選択ウィザードで[商談]を選ぶ>
[商談]は標準オブジェクト、表示したい項目も標準項目に該当するため、[カスタムレポートタイプ]を利用する必要はありません。カスタムレポートタイプは、標準レポートタイプでは表示できないオブジェクトをユーザが独自に定義できる機能です。今回の例では、[標準レポートタイプ]を利用して手早く作成しましょう。Salesforceホーム画面からスタートします。画面左上にある[アプリケーションランチャー]から「レポート」を検索し、[新規レポート]を選択します。レポートタイプ選択のウィザードでは左側に大きな分類、右側に詳細が表示されるため、左から右の順で作成するレポートタイプを選びましょう。左側の大きなカテゴリの中から[商談]を、右側の詳細からも[商談]をクリックします。

<検索条件を使い、進行状況が[進行中]の商談に絞り込む>
レポートタイプで[商談]を選択できたら、画面左上の[検索条件]タブから、表示するレコードを絞り込みます。[商談状況]が[進行中]のレコードを抽出しましょう。この時、[表示]が[すべての商談]になっているかよく確認する必要があります。[私の商談]になっていると、自分が所有するレコードしか表示されません。日付に関しても、対象の日付の期間が選択されていることを確認してください。また、検索条件では、「指定した値より大きい項目」や「特定の文字列や日付が項目に含まれるレコード」などを細かく設定可能です。検索条件を複数設定した場合にはAND条件になりますが、OR条件にも変更できます。

<表示項目の設定>
データを抽出したら、[アウトライン]タブから[項目]の追加・削除が可能です。今回の例では「営業担当者ごとの忙しさ」を把握したいため、[取引先名][商談所有者][商談金額][完了予定日]を追加します。そのほか、[期待収益]や[商談名]などを追加すると、より詳細なデータに基づいた判断ができます。

<[商談所有者]でグループ化する>
レコードの表示順が乱雑ではデータを把握しにくいため、[行をグループ化]や[列をグループ化]を使って整理しましょう。表示項目の設定と同様に、[アウトライン]タブから行や列のグループ化が可能です。今回の例では、[商談所有者]で行をグループ化すると「営業担当者ごとの忙しさ」を把握できます。日単位では細かすぎて分析しにくいと感じるのであれば、完了予定日で列をグループ化し[集計期間単位]から週単位または月単位を選択すると確認しやすくなります。レポートを見やすく整理できたら、最後に[保存]をして作成完了です。

<集計期間単位を変更して保存>
作成したレポートはそのままデータ分析に活かせますが、ダッシュボードに反映することで複数の数値をまとめて俯瞰できます。ゲージや棒グラフ、リストビューなどを使って視覚的にわかりやすく整理しながら分析したいときに活用してみましょう。ここでは、Salesforceレポートをダッシュボードに反映させるための具体的な手順を解説します。

<ダッシュボードを編集>
まずは対象のダッシュボードを開いて編集します。利用したい既存のダッシュボードを選択し、右上に表示される「編集」ボタンをクリックしましょう。新たにダッシュボードを作成する場合は、ホーム画面から操作する必要があります。画面上部のナビゲーションバーから「ダッシュボード」タブをクリックし、右上に表示される「新規ダッシュボード」を選択しましょう。編集モードに切り替えると、レイアウトの設定画面や追加可能なコンポーネントが表示されます。ダッシュボードは視覚的にデータを整理する土台となるため、最初に全体の構成をイメージしておくことが重要です。分析したいデータやユーザの視点を踏まえ、どのような形で整理するのかをあらかじめ決めておくと設定がスムーズに進みます。

<グラフまたはテーブルを選択>
次に、分析対象となるレポートを反映させるため、コンポーネントを追加します。編集モードでウィジェットのタブから「グラフまたはテーブル」を選択すると、レポートの選択画面に遷移します。その中から事前に作成したレポートを選び、コンポーネントの表示設定に進みましょう。コンポーネントはレポートを視覚的に表示するツールであり、棒グラフや円グラフ、ゲージグラフなどのさまざまな種類があります。用途にあわせて選択することで、データを直感的に把握しやすいダッシュボードを構築可能です。

<表示の設定>
ダッシュボードに反映させるレポートを選択したら、次はコンポーネントの表示設定を行います。グラフの種類(棒グラフ・折れ線グラフ・円グラフなど)や集計項目、軸ラベル、表示単位、色分けなどを細かくカスタマイズ可能です。一例として、オススメのコンポーネントを用途別にご紹介します。
| 用途 | オススメのコンポーネント |
| 目標の達成状況を知りたい時 | ゲージグラフ |
| フェーズごとの売上状況が知りたい時 | 棒グラフ |
| 担当者別の売上を確認したい時 | リストビュー |
| 商談のフェーズ状況や月別売上を把握したい時 | 積み上げグラフ |
| 獲得した商談の件数を分析したい時 | 折れ線グラフ |
コンポーネントの表示設定次第で、ユーザが欲しい情報を一目で理解できるかが決まります。色分けやデータラベルに気を配り、視覚的にわかりやすい表現を心がけましょう。ダッシュボードを見るユーザの視点を踏まえながら、必要な情報を的確に伝える設定にすることが大切です。

<ダッシュボードにコンポーネントを配置>
最後に、設定したコンポーネントをダッシュボードに設置・保存します。ドラッグ&ドロップで簡単に移動できるため、全体のレイアウトを調整しながら最適な場所に配置しましょう。完成したダッシュボードを保存すると、データの変化や追加があった場合にもリアルタイムで更新されます。ダッシュボードはチームでの進捗確認や経営層への報告にも活用できるため、情報共有の効率化につながります。保存後は共有設定を行い、必要なユーザがアクセスできるようにしておくとスムーズです。ダッシュボードの機能はこちら(意思決定に役立つSalesforceダッシュボード機能の紹介)を参照ください。
Salesforceには、「表形式」「サマリー」「マトリックス」「結合レポート」の4種類のレポート形式があります。「表形式」はレポート作成時にデフォルトで設定されているシンプルな形式です。情報量の少ないデータを扱う場合に向いています。「サマリー」はグループごとの小計表示やグラフ作成、「マトリックス」は様々な項目の複雑な比較が可能です。形式によって強みが異なるため、データをどのような形でまとめると使いやすいか、事前にイメージを固めてからレポートを作成しましょう。
| レポートの種類 | 主な使用目的 |
| 表形式 |
|
| サマリー |
|
| マトリックス |
|
| 結合レポート |
|
レポート形式ごとの特徴を詳しく解説します。

<表形式>
表形式は、最も迅速にデータを表示できる一覧表です。行と列のみのシンプルな構成になっているため、扱う情報量が少ない場合に向いています。一方で、「グループ化できない」「行を制限しないとダッシュボードで表形式を使用できない」などのデメリットがあります。そのため、メーリングリスト生成のような単純作業が主な用途です。

<サマリー>
サマリーは、行をグループ化した形式です。小計の表示やグラフ作成に活用できます。表形式の場合、商談情報をリスト化しただけでは、「取引先ごとにどれくらいの商談件数があるのか」「売上合計金額はどれくらいなのか」などを判断できません。それに対しサマリーでは、[取引先]をグループ化して商談件数や売上合計金額を集計すると、それぞれの商談に関する数値を確認できます。小計やグラフを交えてデータを整理できるうえ、ダッシュボードにも配置できるため、頻繁に利用される形式です。

<マトリックス>
マトリックスは、列と行の両方をグループ化した形式です。サマリーよりも扱う情報量が多いのが特徴です。日付や商品、場所などをグループ化してデータ整理したい場合や、さまざまな項目の値を比較したい場合に便利です。ただし、扱う情報量が多くなりすぎると、「何を伝えたくて作られたのか」がわかりにくくなる側面があります。サマリーで扱う以上の詳細なデータは不要なケースも多いため、情報量の増やしすぎには注意しましょう。

<結合レポート>
結合レポートは、共通項目をもつ複数のレポートをひとつの画面にまとめて表示できる形式です。たとえば、商談レポートと売上レポートを組み合わせて分析すれば、営業活動と成果を同時に把握できます。部署やチームごとの実績、KPIの複数指標などをまとめて分析したいときにも便利です。複数の項目を並行して比較・分析できる特徴があるため、業務全体を俯瞰したいときに役立ちます。結合レポートについて詳しく知りたい方は、こちら(Salesforce結合レポートの活用・作成方法とは?)を参照ください。
レポートタイプは、Salesforceレポートを作成する際のフォーマットです。Salesforceには標準レポートタイプとカスタムレポートタイプがあります。それぞれの特徴は以下の通りです。
標準レポートタイプは、すべての標準オブジェクトに用意されている基本フォーマットです。目的に合った標準レポートを一覧から選択し、素早く作成作業に取りかかれます。カスタムレポートタイプに比べて操作が簡単なため、Salesforceレポートの作成に不慣れな初級者に向いています。一方で、自由度はそれほど高くないため、詳細なデータ分析をしたいときには使いにくさを感じる可能性があります。「標準レポートタイプでは目的にマッチした表現が難しい」と感じる場合は、次にご紹介するカスタムレポートタイプを使用するのがオススメです。
カスタムレポートタイプとは、標準レポートタイプでは表現が難しい場合に使う応用的なフォーマットです。ユーザ自身が細かく設定して作成する必要があるため手間がかかるものの、目的に合わせたカスタマイズができます。たとえば、2つ以上のオブジェクトからレコードを抽出する場合、標準レポートタイプでは従オブジェクトが関連する主オブジェクトのレコードしか表示できません。一方、カスタムレポートタイプでは、従オブジェクトが関連する主オブジェクトのレコードだけでなく、レコード表示範囲を[オブジェクトリレーション]で任意に調節できます。

<オブジェクトリレーション>
一度作成すれば、同じオブジェクトリレーションおよび項目をもつカスタムレコードタイプをコピーできます。作成済みレポートの[設定]から[レポートタイプ]に進んで[コピー]しておくと、次回以降カスタムレポートタイプを使用したいときに便利です。
Salesforceレポートを使いこなすには、「○○ごとにデータを集計・整理できる」という強みを正しく理解することがポイントです。どのように整理するのかを常に意識して、価値あるデータを得られるようにしましょう。「月・年ごとの売上推移」や「担当者ごとの商談金額」など、どのような角度で整理するかによって得られるデータは異なります。Salesforceレポートには便利な機能が多く搭載されているため、表現の幅を広げて作業を効率化することも大切です。基本的な作成に慣れてきたら、より高度な機能の習得を目指してみましょう。たとえば、相対日付を利用すれば、「直近Nか月の商談レポート」を作成できます。また、行レベルの数式を利用することで、レポート作成の際に新しい数式項目を作成可能です。
Salesforceで作成したレポートは、自分だけではなく、チームや部署全体で共有することでより詳細なデータ分析が可能になります。たとえば、会議用資料や営業進捗の確認など、同じ情報を複数人で共有したいときにレポートの公開・共有設定が便利です。以下に、具体的な方法をご紹介します。
チームや部署全体に共有するには、Salesforceで作成したレポートを「共有可能なフォルダー」に保存する必要があります。手順は以下の通りです。
1. レポートタブから「新規フォルダー」をクリックし、表示ラベルや名前を設定して保存

<フォルダーを作成して保存>
2. サイドメニューから「自分が作成」を選択し、画面右側の▼ボタンを押して「共有」をクリック

<フォルダー共有>
個人用フォルダーに保存すると自分しか参照できないため、共有したい場合は、公開しても問題ないフォルダーを選択しましょう。
フォルダーに保存しただけでは、他のユーザはレポートを参照できません。共有するには、フォルダー自体のアクセス権限を設定する必要があります。手順は以下の通りです。

<フォルダーの共有設定>
アクセス権限は、「ユーザ単位」「ロール単位」「公開グループ」などと細かく指定できます。また、他のユーザに編集されたくない場合は、権限を「表示」のみにできるため、用途に応じた使い分けが可能です。
レポート作成にチャレンジした際、「思い通りに動かない」「原因がわからない」といった経験をされた方は多いと思われます。Salesforceレポート作成でよくあるトラブルとその解決策をご紹介します。
レポート実行中に、一部のレコードが表示されない場合があります。主な原因は、レポート実行中の動作が権限不足で機能していないことです。たとえば、「参照関係項目がレポート条件として使用されている」「オブジェクト項目を参照する数式項目が使用されている」などのケースでは、「レポート実行ユーザに項目表示権限がない」となり、うまく表示されません。問題を解決するにはアクセス権が必要です。[項目レベルセキュリティ]から、レポートを実行するユーザのプロファイルに参照関係項目への[参照]アクセス権を与えましょう。
オブジェクトに追加した数式項目が、レポート作成または編集画面の一覧に表示されない場合があります。後から作成したカスタム項目が、カスタムレポートタイプの項目レイアウトに自動追加されない仕様が原因です。[設定]から[レポートタイプ]指定のレポートタイプを選択し、[レイアウトを編集する]と進み、表示したい数式項目を手動で追加しましょう。
Salesforceレポートでは、一覧画面左上の[項目編集を有効化]をクリックすると、個々の編集画面に遷移することなくインライン編集できます。編集可能な項目にある鉛筆アイコンをクリックし、値を変更するとレポートとソースレコードの更新とレポートの再実行処理が自動で行われます。インライン編集機能は、レポートごとに有効化の設定を変更可能です。問題によって編集できない場合は、レポート単位の設定を見直しましょう。[設定]から[クイック検索]ボックスを呼び出し、「レポートおよびダッシュボード」と入力して[レポートおよびダッシュボードの設定]を選択します。そこからユーザインターフェースの[レポートでのインライン編集を有効化]項目にチェックを入れて保存します。
Salesforceレポートには、ExcelやCSVなどの形式でエクスポートする機能があります。これらの機能を利用できない場合、セキュリティの観点からエクスポートがプロファイル単位で制限されていることが原因として考えられます。この制限は、[設定]から[ユーザの管理]、[プロファイル]を選び、[レポートのエクスポート]のチェックを変更することで解除できます。エクスポートの際に文字化けしてしまう場合は、文字コードをチェックしましょう。SalesforceからのエクスポートとMicrosoft Excelでファイルを開く際には、Unicode(UTF-8)になっているか確認してください。
レポート作成後、[グラフを追加]のボタンがグレーの状態で押せない場合、グループ化の設定が原因として考えられます。グループ化を設定していないと、グラフは作成できません。[表形式]はグループ化が利用できないため、レポート形式が[サマリー]または[マトリックス]になっているかを確認しましょう。レポート形式の変更後、グラフでまとめたい項目をグループ化しましょう。
データを強調表示したいときは「しきい値」設定を確認しましょう。「しきい値」設定は、レポートのデータを強調したいときに役立つ機能です。[条件付き書式ルール]を集計項目に追加し、「しきい値」を設定しておけば、値を超えたデータが一目でわかるように自動で背景色を強調表示できます。しきい値設定は、ひとつ以上の基準または集計を含む[サマリー]と[マトリックス]で利用できます。データを強調表示できないときは、レポートの形式と項目を確認してみましょう。集計項目またはカスタム集計項目でしか強調表示できない点に注意が必要です。また、レポートをExcelにエクスポートした際にも、データの強調表示は反映されません。
クロス条件は、従レコードの条件で主レコードを絞り込む機能です。たとえば「現在進行中(条件)の商談(従レコード)が存在する取引先(主レコード)」のように、取引先のデータには存在しない条件でレコードを絞り込めます。よくある原因としては、「レポートタイプ」です。標準レポートタイプでは使用できますが、カスタムレポートタイプや結合レポートではクロス条件を使用できません。「従オブジェクトなしのレコードを表示」する場合は、標準レポートタイプではなくカスタムレポートタイプを使用します。カスタムレポートタイプではクロス条件の代わりに、[レポートレコードセットを定義]する際に関連オブジェクトを定義可能です。
レポートで前年同月比や前年同期比を表示するには、[アウトライン]の[集計項目を追加]を使い、差異を表示するカスタム数式項目を追加する必要があります。たとえば、月ごとに表示された前月との金額の差を計算する場合、PREVGROUPVAL関数を使った数式[AMOUNT:SUM – PREVGROUPVAL(AMOUNT:SUM, CLOSE_DATE)]を使用します。カスタム数式項目を使いこなすには、関数や数式の専門知識が不可欠です。基本的なレポート作成操作と比べて難易度が高いため、トラブルが発生したときは、社内の詳しい担当者や専門のコンサルタントに相談しましょう。Salesforceレポートの活用方法は、こちら(レポートを攻略する10の技)の資料で詳しく解説しています。
Salesforceでレポートを作成する際には、いくつかの注意点があります。
Salesforceのレポートでは、ユーザに付与されているアクセス権限によって表示可能な項目が制限されます。誤って機密情報が共有されるトラブルを防ぐため、参照権限がない項目や、編集権限がないデータはレポート上に反映されない仕組みです。そのため、特定の項目をレポートに表示させたい場合は、「権限設定」を正しく行う必要があります。先にご紹介した「Salesforceレポートの公開・共有方法」を参考に、対象の項目にユーザがアクセスできるよう設定しておきましょう。
グラフを作成するには、データを「行」や「列」でグループ化する必要があります。たとえば、商談を担当者別や月別にグループ化すれば、そのまとまりをもとに棒グラフや円グラフを作成可能です。数値が並ぶだけの単純な「表形式」では、グラフ作成を利用できません。グラフによって数値を可視化したい場合は、グループ化が可能な「サマリー」または「マトリックス」を使用しましょう。
カスタムレポートタイプは自由にオブジェクトを選べるわけではなく、Salesforce上で「リレーション」が設定されている組み合わせに限定されます。リレーションとは、「取引先」と「商談」のように関連性のあるオブジェクト間のつながりを指します。そのため、「ケース」と「商談」のように関係性のないオブジェクトを同じレポートで扱うことはできません。必要な組み合わせが用意されていない場合は、新たにカスタムレポートタイプを定義するか、「結合レポート」を使用する必要があります。
「Salesforceをこれから導入したい」「操作に慣れたい」という方は、実際にレポートに触れてみるのがオススメです。「レポートを表示する」ことから始め、条件を設定して「データを絞り込む」、さらに「データをまとめる」や「グラフを使用する」などの操作を繰り返していけば理解が深まります。基本操作に慣れた後は、レポートの共有やダッシュボードへの反映など、応用機能も少しずつ試していくと業務での活用場面をイメージしやすくなります。
Salesforceレポートの活用は、操作スキルだけでなく、目的を意識することと構造に対する深い理解が必要です。レポートを作成する際に、どの指標が必要なのか、何を判断したいかが明確になっておらず、集計作業が形骸化するケースは少なくありません。こうした課題に対し、セラクCCCの「Salesforce定着・活用支援」では、導入後の運用と活用を徹底的にサポートします。各社の業務に合わせたカスタマイズや、管理者・ユーザへの伴走型トレーニングを通じて、日常業務に自然と組み込まれる運用体制の構築が可能です。セラクCCCには、定着・活用支援の専門コンサルタントが多数在籍しており、戦略立案から運用支援まで一貫してサポートしています。データの一元管理や営業活動の効率化により、Salesforceが持つ効果を最大限に引き出せる点も大きな魅力です。
さらに、セラクCCCが独自開発したSalesforce特化の生成AI「AZUSA」を活用しながら、よりスムーズで高品質な支援を提供しています。「せっかく導入したのに思うような成果が出ない」とお悩みの方は、まずこちら(定着活用支援)をご確認ください。セラクCCCの現場定着に向けた具体的な施策や活用事例を無料でご覧いただけます。こちら(セラクCCC_サービス資料ダウンロード)からは資料請求を、こちら(無料相談)からはご相談を承っております。
Salesforceのレポートは、データを整理・分析し、業務改善や意思決定に活かせる便利な機能です。本記事では、レポートの基本的な仕組みや種類、作成手順、ダッシュボードへの反映方法、よくあるトラブルの解決策まで詳しく解説しました。レポートはデータの保存以外にも、資料作成や顧客リストの抽出、営業進捗の把握など、幅広い場面で活用できます。機能が多すぎて使いにくいと感じる場合は、表形式のようなシンプルなレポートから始め、徐々にサマリーや結合レポートへと応用していくのがオススメです。レポートを使いこなせるか、現場に定着するかといったお悩みをお持ちの場合は、ぜひお気軽にお問い合わせください。
Salesforceでお悩みなら、
まずはお気軽に
お問い合わせください
この記事の執筆者

株式会社セラクCCC
株式会社セラクCCCは、Salesforceをはじめとするクラウドシステムの定着・活用支援を担うカスタマーサクセス企業です。
Salesforce Navigator プログラムの【Managed Services】分野のExpert認定の詳細はこちら
当社は、セラク(東証スタンダード上場)のグループ会社です。
この記事の監修者
Salesforce活用コンサルタント
新卒から約5年間福祉領域の人材紹介業に従事。キャリアアドバイザー職、法人営業職を経てマーケティング部に異動。この際、Salesforceを活用したテレアポの効果的な手法探索、およびSalesforceとMAツールを連携した集客の立案に携わりカスタマーサクセスおよび、業務に効果的なCRMの在り方を更に高めたいという思いで2021年にセラクCCCに入社。
現在は社内で使用しているSalesforce保守運用業務に従事し、営業、経理、バックオフィス等各職種で必要な機能をヒアリングから実装、運用保守まで担当している。
・Salesforce認定保有資格
-Platform アドミニストレーター 上級
-Sales Cloud コンサルタント
-Service Cloud コンサルタント
-Marketing Cloud Account Engagement コンサルタント
-Platform Sharing and Visibility アーキテクト
-その他多数(Experience Cloud、Field Service、Data アーキテクト、AI アソシエイト、アプリケーションビルダーなど)
※資格の詳細はSalesforce公式資格ページをご覧ください。
※Salesforceの定着活用に関する記事監修を多数
else
Salesforceでお悩みなら、
まずはお気軽に
お問い合わせください